复制成功!快去微信添加好友吧!
西南地区保健品及医药天猫旗舰店出售/转让,名字好听,欢迎咨询
消保金 : 0(不需要退还) 技术年费 : 0
1万市场估价 : 1万
店铺标签 : 无扣分
网店编号:S0E956DAE41C
主营类目:保健品及医药 商城类型:旗舰店
商标所有人:公司 注册资金:0元
创店时间:2025年 商标类型: R标(第10类) 纳税类型:一般纳税人 所属省市:四川省成都市 所在地区:西南地区
一级类目:
一般违规:0分严重违规0分售假违规0分

店铺截图

卖家描述

卖家描述
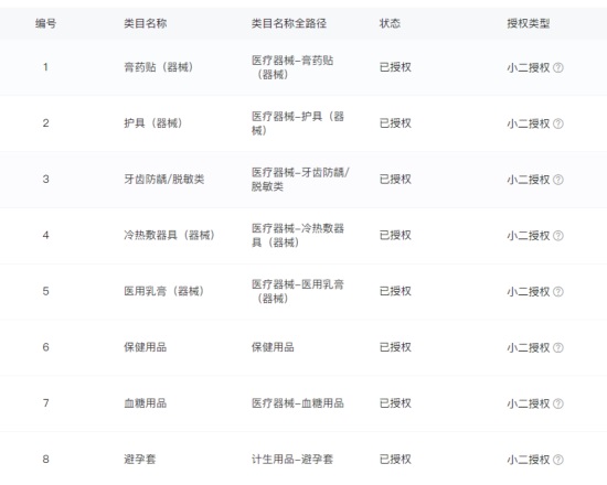
西南地区保健品及医药天猫旗舰店出售/转让,该店铺主营类目为保健品及医药,已开通互联网医疗保健用品,医疗器械,计生用品,10,一般纳税人,无扣分,名字好听,欢迎咨询
网店动态信息

宝贝与描述相符

卖家的服务态度

卖家的发货速度

交易流程

常见问题

- 同类型店铺推荐 -刷新换一批