复制成功!快去微信添加好友吧!
华南地区保健品及医药天猫专营店出售/转让,成人用品保健品专营店,诚意出售
消保金 : 100000(需要退还) 技术年费 : 1.5万
1万市场估价 : 1万
店铺标签 : 优质店铺
网店编号:S0CB88E8B119
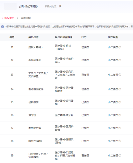
主营类目:保健品及医药 商城类型:专营店
商标所有人:公司 注册资金:0元
创店时间:2024年 商标类型: R标(第10类) 纳税类型:一般纳税人 所属省市:广东省广州市 所在地区:华南地区
一级类目:
一般违规:0分严重违规0分售假违规0分

店铺截图

卖家描述

卖家描述
华南地区保健品及医药天猫专营店出售/转让,该店铺主营类目为保健品及医药,已开通成人用品情趣用品,保健食品膳食营养补充食品,10,一般纳税人,优质店铺,成人用品保健品专营店,诚意出售
网店动态信息

宝贝与描述相符

卖家的服务态度

卖家的发货速度

交易流程

常见问题

- 同类型店铺推荐 -刷新换一批