复制成功!快去微信添加好友吧!
华东地区网游及QQ天猫专营店出售/转让,点卡直充专营店
消保金 : 100000(需要退还) 技术年费 : 7500
16万市场估价 : 19.2万
店铺标签 : 优质店铺
网店编号:S0C8A80AC9F1
主营类目:网游及QQ 商城类型:专营店
商标所有人:授权 注册资金:100万元
创店时间:2024年 商标类型: 无商标 纳税类型:小规模纳税人 所属省市:安徽省合肥市 所在地区:华东地区
一级类目:
一般违规:0分严重违规0分售假违规0分

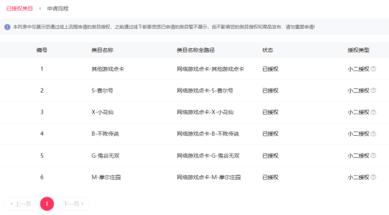
店铺截图

卖家描述

卖家描述
华东地区网游及QQ天猫专营店出售/转让,该店铺主营类目为网游及QQ,已开通网络游戏点卡,0,小规模纳税人,优质店铺,点卡直充专营店
网店动态信息

宝贝与描述相符

卖家的服务态度

卖家的发货速度

交易流程

常见问题

- 同类型店铺推荐 -刷新换一批