| 
             江浙沪地区居家日用天猫旗舰店出售/转让,节庆用品欢迎咨询 
         | 
    |||
| 
             
                    消保金 : 50000(需要退还)
                    技术年费 : 6万
                 
                1.2万市场估价 : 1.44万 
             | 
        
             
                店铺标签 : 可当面交易
                
                
             
         | 
    ||
 网店编号:S0C1AAE22092 | ||||
| 主营类目:居家日用 | 商城类型:旗舰店 | |||
| 商标所有人:1 | 注册资金:0元 | |||
| 创店时间:2024年 | 商标类型: R标(第21类) | 纳税类型:一般纳税人 | 所属省市:浙江省金华市 | 所在地区:江浙沪地区 | 
| 一级类目: | ||||
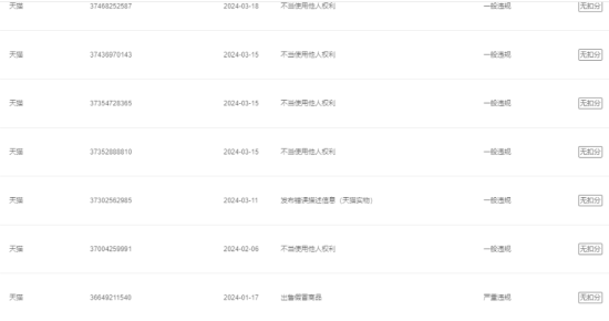
| 一般违规:0分严重违规0分售假违规0分 | ||||
店铺截图
卖家描述
            宝贝与描述相符
                
        
            卖家的服务态度
                
        
            卖家的发货速度
                
        
交易流程
常见问题
换一批
                        
                        150万
                        
                        9000
                        
                        3万