复制成功!快去微信添加好友吧!
华东地区保健品及医药,居家日用天猫旗舰店出售/转让,本人出售诚心出售店铺资质好
消保金 : 50000(需要退还) 技术年费 : 6万
30万市场估价 : 36万
店铺标签 : 本人出售
网店编号:S0BB6D6EAE3E
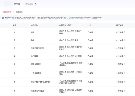
主营类目:保健品及医药 商城类型:旗舰店
商标所有人:公司 注册资金:100万元
创店时间:2024年 商标类型: R标(第3类,第5类,第10类,第21类,第24类,第25类,第28类,第29类,第30类,第30类,第35类,第44类) 纳税类型:一般纳税人 所属省市:福建省厦门市 所在地区:华东地区
一级类目:
一般违规:0分严重违规0分售假违规0分

店铺截图

卖家描述

卖家描述
华东地区保健品及医药,居家日用天猫旗舰店出售/转让,该店铺主营类目为保健品及医药,居家日用,已开通居家日用,保健食品膳食营养补充食品,1035282430214435253029,一般纳税人,本人出售,本人出售诚心出售店铺资质好
网店动态信息

宝贝与描述相符

卖家的服务态度

卖家的发货速度

交易流程

常见问题

- 同类型店铺推荐 -刷新换一批