复制成功!快去微信添加好友吧!
华南地区鞋类箱包天猫旗舰店出售/转让,优质店铺女鞋旗舰店
消保金 : 50000(需要退还) 技术年费 : 0
1万市场估价 : 1万
店铺标签 : 动态飘红好评率高
网店编号:S0BB00AAA369
主营类目:鞋类箱包 商城类型:旗舰店
商标所有人:公司 注册资金:0元
创店时间:2024年 商标类型: R标 纳税类型:一般纳税人 所属省市:广东省广州市 所在地区:华南地区
一级类目:
一般违规:0分严重违规0分售假违规0分

店铺截图

卖家描述

卖家描述
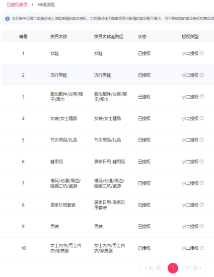
华南地区鞋类箱包天猫旗舰店出售/转让,该店铺主营类目为鞋类箱包,已开通女鞋,女鞋,一般纳税人,动态飘红,好评率高,优质店铺女鞋旗舰店
网店动态信息

宝贝与描述相符

卖家的服务态度

卖家的发货速度

交易流程

常见问题

- 同类型店铺推荐 -刷新换一批