复制成功!快去微信添加好友吧!
华南地区化妆品,家用电器,居家日用天猫旗舰店出售/转让,化妆品旗舰店
消保金 : 50000(需要退还) 技术年费 : 3万
2.2万市场估价 : 2.64万
店铺标签 : 优质店铺
网店编号:S0B4BD5A78D2
主营类目:化妆品 商城类型:旗舰店
商标所有人:公司 注册资金:100万元
创店时间:2024年 商标类型: R标(第3类) 纳税类型:一般纳税人 所属省市:广东省广州市 所在地区:华南地区
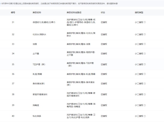
一级类目: 美容护肤/美体/精油,洗护清洁剂/卫生巾/纸/香薰,个人护理/保健/按摩器材
一般违规:0分严重违规0分售假违规0分

店铺截图

卖家描述

卖家描述
华南地区化妆品,家用电器,居家日用天猫旗舰店出售/转让,该店铺主营类目为化妆品,家用电器,居家日用,已开通美容护肤美体精油,洗护清洁剂卫生巾纸香薰,个人护理保健按摩器材,3,一般纳税人,优质店铺,化妆品旗舰店
网店动态信息

宝贝与描述相符

卖家的服务态度

卖家的发货速度

交易流程

常见问题

- 同类型店铺推荐 -刷新换一批