| 华东地区化妆品天猫旗舰店出售/转让,诚心出售,欢迎咨询 | |||
| 
                    消保金 : 50000(需要退还)
                    技术年费 : 3万
                 2.5万市场估价 : 3万 | 
                店铺标签 : 无扣分收藏高
                
                
             | ||
|  网店编号:S0ACAF3CD3B6 | ||||
| 主营类目:化妆品 | 商城类型:旗舰店 | |||
| 商标所有人:公司 | 注册资金:5000万元 | |||
| 创店时间:2024年 | 商标类型: R标(第3类,第35类) | 纳税类型:一般纳税人 | 所属省市:山东省菏泽市 | 所在地区:华东地区 | 
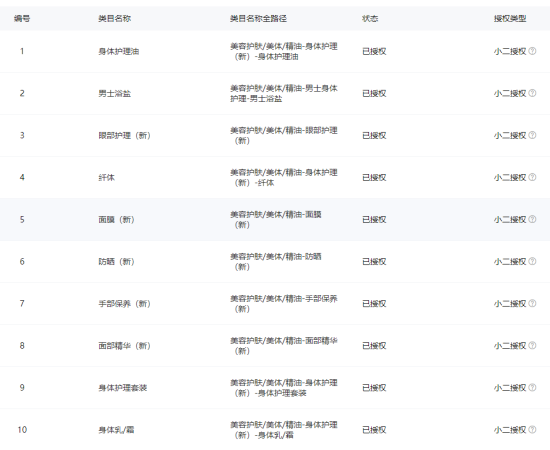
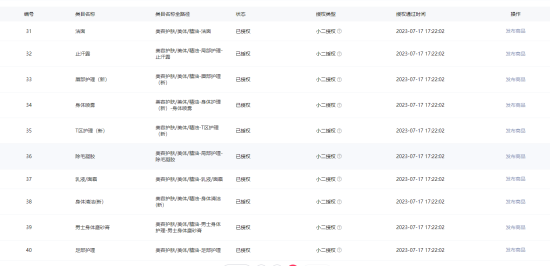
| 一级类目: 美容护肤/美体/精油,彩妆/香水/美发/工具 | ||||
| 一般违规:0分严重违规0分售假违规0分 | ||||
店铺截图
卖家描述
            宝贝与描述相符
                 
        
            卖家的服务态度
                 
        
            卖家的发货速度
                 
        
交易流程
 
常见问题
 换一批
换一批 
                        
                        2万
 
                        
                        8万
 
                        
                        25万