复制成功!快去微信添加好友吧!
华东地区3C数码,家装家饰,居家日用天猫旗舰店出售/转让,文具电教模玩家居饰品宠物全开旗舰店
消保金 : 50000(需要退还) 技术年费 : 3万
2.2万市场估价 : 2.64万
店铺标签 : 优质店铺
网店编号:S0A4B0F00AD5
主营类目:3C数码 商城类型:旗舰店
商标所有人:公司 注册资金:100万元
创店时间:2024年 商标类型: R标(第16类,第21类,第28类) 纳税类型:一般纳税人 所属省市:山东省枣庄市 所在地区:华东地区
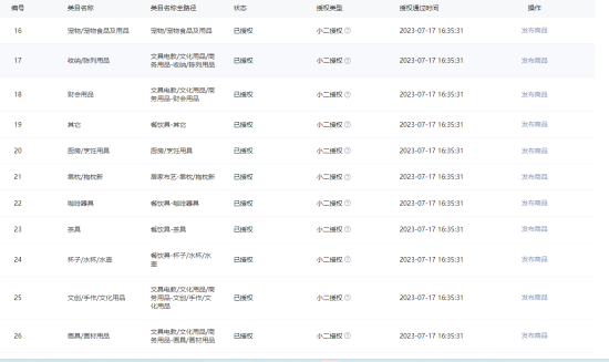
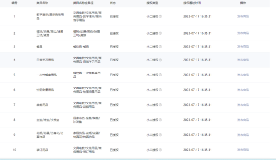
一级类目: 餐饮具,家居饰品,文具电教/文化用品/商务用品,宠物/宠物食品及用品
一般违规:0分严重违规0分售假违规0分

店铺截图

卖家描述

卖家描述
华东地区3C数码,家装家饰,居家日用天猫旗舰店出售/转让,该店铺主营类目为3C数码,家装家饰,居家日用,已开通餐饮具,家居饰品,文具电教文化用品商务用品,162128,一般纳税人,优质店铺,文具电教模玩家居饰品宠物全开旗舰店
网店动态信息

宝贝与描述相符

卖家的服务态度

卖家的发货速度

交易流程

常见问题

- 同类型店铺推荐 -刷新换一批