复制成功!快去微信添加好友吧!
华东地区食品天猫旗舰店出售/转让,天猫店铺诚心出售
消保金 : 50000(需要退还) 技术年费 : 3万
1万市场估价 : 1万
店铺标签 : 本人出售
网店编号:S0A3555744E3
主营类目:食品 商城类型:旗舰店
商标所有人:公司 注册资金:0元
创店时间:2024年 商标类型: R标(第32类) 纳税类型:小规模纳税人 所属省市:安徽省合肥市 所在地区:华东地区
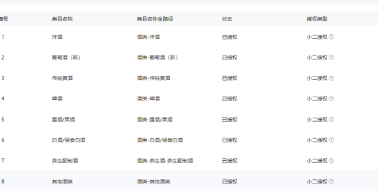
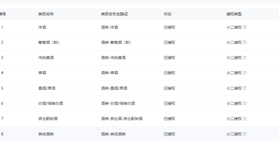
一级类目: 酒类
一般违规:0分严重违规0分售假违规0分

店铺截图

卖家描述

卖家描述
华东地区食品天猫旗舰店出售/转让,该店铺主营类目为食品,已开通酒类,32,小规模纳税人,本人出售,天猫店铺诚心出售
网店动态信息

宝贝与描述相符

卖家的服务态度

卖家的发货速度

交易流程

常见问题

- 同类型店铺推荐 -刷新换一批