复制成功!快去微信添加好友吧!
华南地区居家日用天猫旗舰店出售/转让,卖家诚意出售
消保金 : 50000(需要退还) 技术年费 : 6万
1.2万市场估价 : 1.44万
店铺标签 : 盈利店铺
网店编号:S0952D90F435
主营类目:居家日用 商城类型:旗舰店
商标所有人:公司 注册资金:135万元
创店时间:2024年 商标类型: R标(第21类) 纳税类型:一般纳税人 所属省市:广东省深圳市 所在地区:华南地区
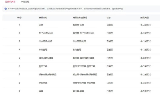
一级类目: 收纳整理,厨房/烹饪用具,餐饮具,节庆用品/礼品
一般违规:0分严重违规0分售假违规0分

店铺截图

卖家描述

卖家描述
华南地区居家日用天猫旗舰店出售/转让,该店铺主营类目为居家日用,已开通收纳整理,厨房烹饪用具,餐饮具,21,一般纳税人,盈利店铺,卖家诚意出售
网店动态信息

宝贝与描述相符

卖家的服务态度

卖家的发货速度

交易流程

常见问题

- 同类型店铺推荐 -刷新换一批