复制成功!快去微信添加好友吧!
江浙沪地区珠宝配饰天猫旗舰店出售/转让,价格美丽诚意出售
消保金 : 50000(需要退还) 技术年费 : 6万
2.5万市场估价 : 3万
店铺标签 : 优质店铺本人出售
网店编号:S0902DC0A1B5
主营类目:珠宝配饰 商城类型:旗舰店
商标所有人:公司 注册资金:10万元
创店时间:2023年 商标类型: R标(第14类) 纳税类型:一般纳税人 所属省市:江苏省连云港市 所在地区:江浙沪地区
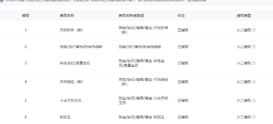
一级类目: 饰品/流行首饰/时尚饰品新
一般违规:0分严重违规0分售假违规0分

店铺截图

卖家描述

卖家描述
江浙沪地区珠宝配饰天猫旗舰店出售/转让,该店铺主营类目为珠宝配饰,已开通饰品流行首饰时尚饰品新,14,一般纳税人,优质店铺,本人出售,价格美丽诚意出售
网店动态信息

宝贝与描述相符

卖家的服务态度

卖家的发货速度

交易流程

常见问题

- 同类型店铺推荐 -刷新换一批