| 
             华南地区家装家饰天猫旗舰店出售/转让,名字好听,欢迎咨询 
         | 
    |||
| 
             
                    消保金 : 50000(需要退还)
                    技术年费 : 6万
                 
                1万市场估价 : 1万 
             | 
        
             
                店铺标签 : 本人出售
                
                
             
         | 
    ||
 网店编号:S08ABBDA9890 | ||||
| 主营类目:家装家饰 | 商城类型:旗舰店 | |||
| 商标所有人:公司 | 注册资金:0元 | |||
| 创店时间:2023年 | 商标类型: R标(第27类) | 纳税类型:一般纳税人 | 所属省市:广东省广州市 | 所在地区:华南地区 | 
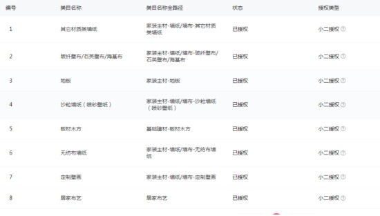
| 一级类目: 基础建材,居家布艺,家装主材 | ||||
| 一般违规:0分严重违规0分售假违规0分 | ||||
店铺截图
卖家描述
            宝贝与描述相符
                
        
            卖家的服务态度
                
        
            卖家的发货速度
                
        
交易流程
常见问题
换一批
                        
                        1万
                        
                        1.5万
                        
                        5000