复制成功!快去微信添加好友吧!
江浙沪地区保健品及医药天猫专营店出售/转让,医疗器械专营店带二类
消保金 : 100000(需要退还) 技术年费 : 3万
3.5万市场估价 : 4.2万
店铺标签 : 盈利店铺优质店铺
网店编号:S0881591B5D9
主营类目:保健品及医药 商城类型:专营店
商标所有人:公司 注册资金:100万元
创店时间:2023年 商标类型: R标 纳税类型:一般纳税人 所属省市:浙江省杭州市 所在地区:江浙沪地区
一级类目: 医疗器械,成人用品/情趣用品,互联网医疗/保健用品
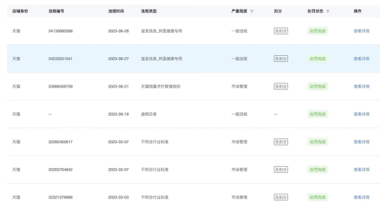
一般违规:0分严重违规0分售假违规0分

店铺截图

卖家描述

卖家描述
江浙沪地区保健品及医药天猫专营店出售/转让,该店铺主营类目为保健品及医药,已开通医疗器械,成人用品情趣用品,互联网医疗保健用品,授权商标,一般纳税人,盈利店铺,优质店铺,医疗器械专营店带二类
网店动态信息

宝贝与描述相符

卖家的服务态度

卖家的发货速度

交易流程

常见问题

- 同类型店铺推荐 -刷新换一批