复制成功!快去微信添加好友吧!
江浙沪地区服饰,母婴天猫旗舰店出售/转让,名字好听,欢迎咨询
消保金 : 50000(需要退还) 技术年费 : 6万
5000市场估价 : 5000
店铺标签 : 本人出售
网店编号:S08415FEF106
主营类目:服饰 商城类型:旗舰店
商标所有人:公司 注册资金:0元
创店时间:2023年 商标类型: R标(第25类) 纳税类型:一般纳税人 所属省市:上海市城区 所在地区:江浙沪地区
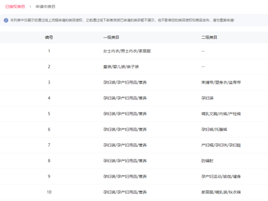
一级类目: 女士内衣/男士内衣/家居服,孕妇装/孕产妇用品/营养,童装/婴儿装/亲子装
一般违规:0分严重违规0分售假违规0分

店铺截图

卖家描述

卖家描述
江浙沪地区服饰,母婴天猫旗舰店出售/转让,该店铺主营类目为服饰,母婴,已开通女士内衣男士内衣家居服,孕妇装孕产妇用品营养,童装婴儿装亲子装,25,一般纳税人,本人出售,名字好听,欢迎咨询
网店动态信息

宝贝与描述相符

卖家的服务态度

卖家的发货速度

交易流程

常见问题

- 同类型店铺推荐 -刷新换一批