复制成功!快去微信添加好友吧!
华南地区家装家饰天猫旗舰店出售/转让,住宅办公家具全屋定制家装主材旗舰店老店
消保金 : 50000(需要退还) 技术年费 : 6万
1万市场估价 : 1万
店铺标签 : 本人出售
网店编号:S0695E8C8960
主营类目:家装家饰 商城类型:旗舰店
商标所有人:公司 注册资金:50万元
创店时间:2023年 商标类型: R标(第20类) 纳税类型:一般纳税人 所属省市:广东省深圳市 所在地区:华南地区
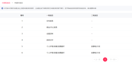
一级类目: 住宅家具,家装主材,全屋定制,商业/办公家具
一般违规:0分严重违规0分售假违规0分

店铺截图

卖家描述

卖家描述
华南地区家装家饰天猫旗舰店出售/转让,该店铺主营类目为家装家饰,已开通住宅家具,家装主材,全屋定制,20,一般纳税人,本人出售,住宅办公家具全屋定制家装主材旗舰店老店
网店动态信息

宝贝与描述相符

卖家的服务态度

卖家的发货速度

交易流程

常见问题

- 同类型店铺推荐 -刷新换一批