复制成功!快去微信添加好友吧!
西南地区服务大类天猫旗舰店出售/转让,教育培训旗舰店教育培训旗舰店
消保金 : 10000(需要退还) 技术年费 : 3万
15万市场估价 : 18万
店铺标签 : 优质店铺本人出售
网店编号:S064EB4595B2
主营类目:服务大类 商城类型:旗舰店
商标所有人:公司名下 注册资金:0元
创店时间:2023年 商标类型: - 纳税类型:一般纳税人 所属省市:四川省广元市 所在地区:西南地区
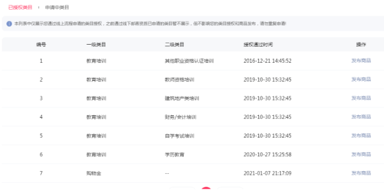
一级类目: 教育培训
一般违规:0分严重违规0分售假违规0分

店铺截图

卖家描述

卖家描述
西南地区服务大类天猫旗舰店出售/转让,该店铺主营类目为服务大类,已开通教育培训,41,35,一般纳税人,优质店铺,本人出售,教育培训旗舰店教育培训旗舰店
网店动态信息

宝贝与描述相符

卖家的服务态度

卖家的发货速度

交易流程

常见问题

- 同类型店铺推荐 -刷新换一批