复制成功!快去微信添加好友吧!
华南地区食品,母婴,保健品及医药天猫旗舰店出售/转让,需要主体变更
消保金 : 50000(需要退还) 技术年费 : 6万
20万市场估价 : 24万
店铺标签 : 优质店铺
网店编号:S05ED8042AAE
主营类目:食品 商城类型:旗舰店
商标所有人:公司 注册资金:100万元
创店时间:2023年 商标类型: R标(第3类,第5类,第29类,第30类,第35类) 纳税类型:一般纳税人 所属省市:香港-请选择- 所在地区:港澳台地区
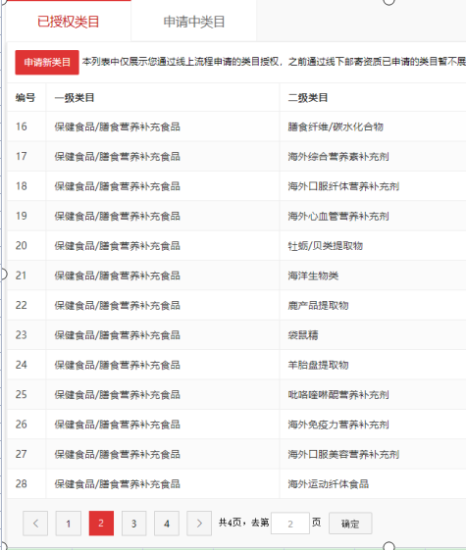
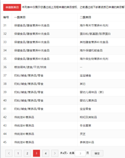
一级类目: 咖啡/麦片/冲饮,奶粉/辅食/营养品/零食,零食/坚果/特产,粮油米面/南北干货/调味品,保健食品/膳食营养补充食品,传统滋补营养品
一般违规:0分严重违规0分售假违规0分

店铺截图

卖家描述

卖家描述
华南地区食品,母婴,保健品及医药天猫旗舰店出售/转让,该店铺主营类目为食品,母婴,保健品及医药,已开通咖啡麦片冲饮,奶粉辅食营养品零食,零食坚果特产,35293035,一般纳税人,优质店铺,需要主体变更
网店动态信息

宝贝与描述相符

卖家的服务态度

卖家的发货速度

交易流程

常见问题

- 同类型店铺推荐 -刷新换一批