复制成功!快去微信添加好友吧!
江浙沪地区母婴天猫旗舰店出售/转让,婴童用品旗舰店,带绿通
消保金 : 50000(需要退还) 技术年费 : 3万
1.2万市场估价 : 1.44万
店铺标签 : 优质店铺本人出售
网店编号:653729665997
主营类目:母婴 商城类型:旗舰店
商标所有人:公司 注册资金:108万元
创店时间:2022年 商标类型: R标(第24类) 纳税类型:一般纳税人 所属省市:上海市城区 所在地区:江浙沪地区
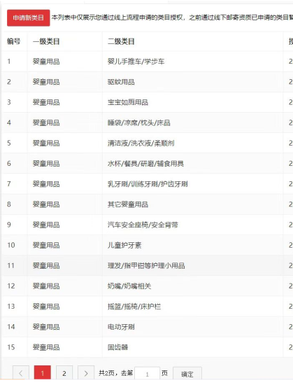
一级类目: 婴童用品
一般违规:0分严重违规0分售假违规0分

店铺截图

卖家描述

卖家描述
江浙沪地区母婴天猫旗舰店出售/转让,该店铺主营类目为母婴,已开通婴童用品,24,一般纳税人,优质店铺,本人出售,婴童用品旗舰店,带绿通
网店动态信息

宝贝与描述相符

卖家的服务态度

卖家的发货速度

交易流程

常见问题

- 同类型店铺推荐 -刷新换一批