复制成功!快去微信添加好友吧!
华北地区珠宝配饰天猫专营店出售/转让,眼镜专营店全开本人出售诚心出售
消保金 : 130000(需要退还) 技术年费 : 7.2万
12.8万市场估价 : 15.36万
店铺标签 : 本人出售
网店编号:653657813154
主营类目:珠宝配饰 商城类型:专营店
商标所有人:公司 注册资金:100万元
创店时间:2022年 商标类型: 无商标(第1类) 纳税类型:一般纳税人 所属省市:山西省太原市 所在地区:华北地区
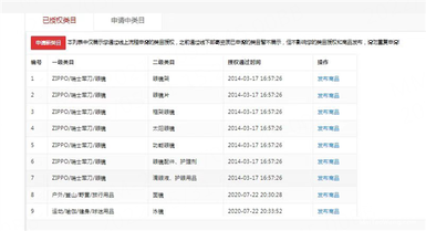
一级类目: ZIPPO/瑞士军刀/眼镜
一般违规:0分严重违规0分售假违规0分

店铺截图

卖家描述

卖家描述
华北地区珠宝配饰天猫专营店出售/转让,该店铺主营类目为珠宝配饰,已开通ZIPPO瑞士军刀眼镜,1,一般纳税人,本人出售,眼镜专营店全开本人出售诚心出售
网店动态信息

宝贝与描述相符

卖家的服务态度

卖家的发货速度

交易流程

常见问题

- 同类型店铺推荐 -刷新换一批