复制成功!快去微信添加好友吧!
华中地区服务大类天猫专营店出售/转让,飞猪旅游门票专营店
消保金 : 10000(需要退还) 技术年费 : 1.5万
6万市场估价 : 7.2万
店铺标签 : 本人出售
网店编号:S1315085E17C
主营类目:服务大类 商城类型:专营店
商标所有人:1 注册资金:0元
创店时间:2026年 商标类型: R标(第41类) 纳税类型:小规模纳税人 所属省市:河南省洛阳市 所在地区:华中地区
一级类目:
一般违规:0分严重违规0分售假违规0分

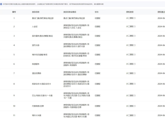
店铺截图

卖家描述

卖家描述
华中地区服务大类天猫专营店出售/转让,该店铺主营类目为服务大类,已开通本地化生活服务,41,小规模纳税人,本人出售,飞猪旅游门票专营店
网店动态信息

宝贝与描述相符

卖家的服务态度

卖家的发货速度

交易流程

常见问题

- 同类型店铺推荐 -刷新换一批