复制成功!快去微信添加好友吧!
江浙沪地区服务大类天猫旗舰店出售/转让,商务服务加法律服务
消保金 : 50000(需要退还) 技术年费 : 0
2.6万市场估价 : 3.12万
店铺标签 : 本人出售
网店编号:S127661D21BE
主营类目:服务大类 商城类型:旗舰店
商标所有人:0 注册资金:0元
创店时间:2026年 商标类型: R标(第41类) 纳税类型:小规模纳税人 所属省市:江苏省宿迁市 所在地区:江浙沪地区
一级类目:
一般违规:0分严重违规0分售假违规0分

店铺截图

卖家描述

卖家描述
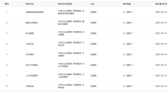
江浙沪地区服务大类天猫旗舰店出售/转让,该店铺主营类目为服务大类,已开通本地化生活服务,41,小规模纳税人,本人出售,商务服务加法律服务
网店动态信息

宝贝与描述相符

卖家的服务态度

卖家的发货速度

交易流程

常见问题

- 同类型店铺推荐 -刷新换一批