复制成功!快去微信添加好友吧!
江浙沪地区化妆品,保健品及医药天猫旗舰店出售/转让,彩妆护肤旗舰店主体变更
消保金 : 0(不需要退还) 技术年费 : 1
2万市场估价 : 2.4万
店铺标签 : 优质店铺本人出售
网店编号:S1206968E369
主营类目:化妆品 商城类型:旗舰店
商标所有人:1 注册资金:100万元
创店时间:2025年 商标类型: R标(第3类) 纳税类型:一般纳税人 所属省市:江苏省徐州市 所在地区:江浙沪地区
一级类目:
一般违规:0分严重违规0分售假违规0分

店铺截图

卖家描述

卖家描述
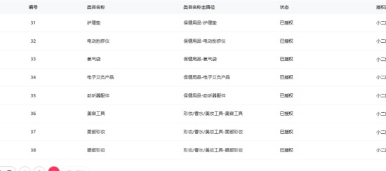
江浙沪地区化妆品,保健品及医药天猫旗舰店出售/转让,该店铺主营类目为化妆品,保健品及医药,已开通彩妆香水美发工具,美容护肤美体精油,互联网医疗保健用品,3,一般纳税人,优质店铺,本人出售,彩妆护肤旗舰店主体变更
网店动态信息

宝贝与描述相符

卖家的服务态度

卖家的发货速度

交易流程

常见问题

- 同类型店铺推荐 -刷新换一批