复制成功!快去微信添加好友吧!
西南地区居家日用天猫旗舰店出售/转让,卖家诚意出售
消保金 : 1500(需要退还) 技术年费 : 0
1.5万市场估价 : 1.8万
店铺标签 : 优质店铺
网店编号:S1151CEFAF02
主营类目:居家日用 商城类型:旗舰店
商标所有人:公司 注册资金:0元
创店时间:2025年 商标类型: R标(第31类) 纳税类型:小规模纳税人 所属省市:四川省成都市 所在地区:西南地区
一级类目:
一般违规:0分严重违规0分售假违规0分

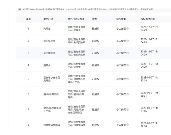
店铺截图

卖家描述

卖家描述
西南地区居家日用天猫旗舰店出售/转让,该店铺主营类目为居家日用,已开通宠物宠物食品及用品,31,小规模纳税人,优质店铺,卖家诚意出售
网店动态信息

宝贝与描述相符

卖家的服务态度

卖家的发货速度

交易流程

常见问题

- 同类型店铺推荐 -刷新换一批