复制成功!快去微信添加好友吧!
华南地区居家日用,化妆品天猫旗舰店出售/转让,化妆品多类目
消保金 : 690(需要退还) 技术年费 : 0
2万市场估价 : 2.4万
店铺标签 : 优质店铺
网店编号:S111E7031145
主营类目:居家日用 商城类型:旗舰店
商标所有人:其他 注册资金:300万元
创店时间:2025年 商标类型: R标(第3类,第21类) 纳税类型:小规模纳税人 所属省市:广东省广州市 所在地区:华南地区
一级类目:
一般违规:0分严重违规0分售假违规0分

店铺截图

卖家描述

卖家描述
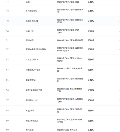
华南地区居家日用,化妆品天猫旗舰店出售/转让,该店铺主营类目为居家日用,化妆品,已开通收纳整理,节庆用品礼品,洗护清洁剂卫生巾纸香薰,321,小规模纳税人,优质店铺,化妆品多类目
网店动态信息

宝贝与描述相符

卖家的服务态度

卖家的发货速度

交易流程

常见问题

- 同类型店铺推荐 -刷新换一批