复制成功!快去微信添加好友吧!
华南地区家用电器天猫专营店出售/转让,厨房电器生活电器专营店,履约险
消保金 : 0(不需要退还) 技术年费 : 1
3万市场估价 : 3.6万
店铺标签 : 盈利店铺优质店铺
网店编号:S10E414E7117
主营类目:家用电器 商城类型:专营店
商标所有人:1 注册资金:1000万元
创店时间:2025年 商标类型: R标 纳税类型:一般纳税人 所属省市:广东省中山市 所在地区:华南地区
一级类目:
一般违规:0分严重违规0分售假违规0分

店铺截图

卖家描述

卖家描述
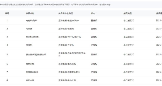
华南地区家用电器天猫专营店出售/转让,该店铺主营类目为家用电器,已开通厨房电器,生活电器,授权,一般纳税人,盈利店铺,优质店铺,厨房电器生活电器专营店,履约险
网店动态信息

宝贝与描述相符

卖家的服务态度

卖家的发货速度

交易流程

常见问题

- 同类型店铺推荐 -刷新换一批