复制成功!快去微信添加好友吧!
华南地区家装家饰天猫专卖店出售/转让,多类目专卖店履约险老店优质店铺诚意出售
消保金 : 0(不需要退还) 技术年费 : 0
1.5万市场估价 : 1.8万
店铺标签 : 本人出售
网店编号:S10E2383DD3B
主营类目:家装家饰 商城类型:专卖店
商标所有人: 注册资金:5万元
创店时间:2025年 商标类型: R标(第20类) 纳税类型:小规模纳税人 所属省市:广东省广州市 所在地区:华南地区
一级类目:
一般违规:0分严重违规0分售假违规0分

店铺截图

卖家描述

卖家描述
华南地区家装家饰天猫专卖店出售/转让,该店铺主营类目为家装家饰,已开通家居饰品,电子电工,居家布艺,20,小规模纳税人,本人出售,多类目专卖店履约险老店优质店铺诚意出售
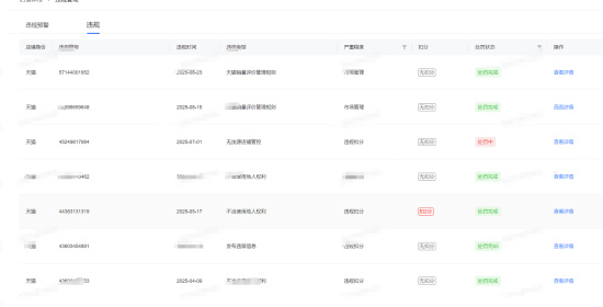
网店动态信息

宝贝与描述相符

卖家的服务态度

卖家的发货速度

交易流程

常见问题

- 同类型店铺推荐 -刷新换一批