复制成功!快去微信添加好友吧!
华南地区食品天猫旗舰店出售/转让,食品多类目旗舰店多商标履约险
消保金 : 1500(不需要退还) 技术年费 : 0
2万市场估价 : 2.4万
店铺标签 : 无扣分收藏高动态飘红
网店编号:S1094484A447
主营类目:食品 商城类型:旗舰店
商标所有人:1 注册资金:0元
创店时间:2025年 商标类型: R标(第5类,第29类,第30类) 纳税类型:小规模纳税人 所属省市:广东省佛山市 所在地区:华南地区
一级类目:
一般违规:0分严重违规0分售假违规0分

店铺截图

卖家描述

卖家描述
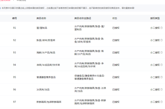
华南地区食品天猫旗舰店出售/转让,该店铺主营类目为食品,已开通水产肉类蛋类新鲜果蔬冰淇淋,茶,粮油米面南北干货调味品,52930,小规模纳税人,无扣分,收藏高,动态飘红,食品多类目旗舰店多商标履约险
网店动态信息

宝贝与描述相符

卖家的服务态度

卖家的发货速度

交易流程

常见问题

- 同类型店铺推荐 -刷新换一批