复制成功!快去微信添加好友吧!
江浙沪地区04年食品天猫旗舰店出售/转让,天猫老店食品店铺,上海地区,诚心出售
消保金 : 0(不需要退还) 技术年费 : 1
3.5万市场估价 : 4.2万
店铺标签 : 无扣分本人出售
网店编号:S1080FE4BE42
主营类目:食品 商城类型:旗舰店
商标所有人:公司 注册资金:1元
创店时间:2025年 商标类型: R标(第29类) 纳税类型:一般纳税人 所属省市:上海市城区 所在地区:江浙沪地区
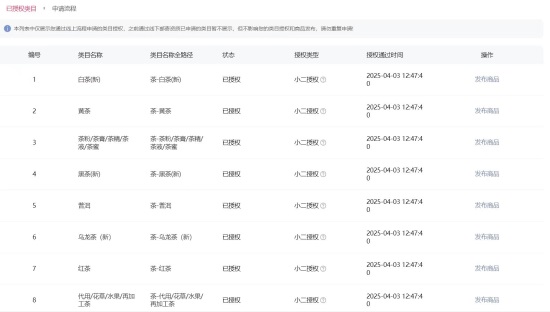
一级类目:
一般违规:0分严重违规0分售假违规0分

店铺截图

卖家描述

卖家描述
江浙沪地区04年食品天猫旗舰店出售/转让,该店铺主营类目为食品,已开通茶,29,一般纳税人,无扣分,本人出售,天猫老店食品店铺,上海地区,诚心出售
网店动态信息

宝贝与描述相符

卖家的服务态度

卖家的发货速度

交易流程

常见问题

- 同类型店铺推荐 -刷新换一批