复制成功!快去微信添加好友吧!
华东地区服饰天猫旗舰店出售/转让,本人诚心出售,价格优惠
消保金 : 1500000(需要退还) 技术年费 : 0
10万市场估价 : 12万
店铺标签 : 本人出售
网店编号:S0F72F639AF4
主营类目:服饰 商城类型:旗舰店
商标所有人:公司 注册资金:100万元
创店时间:2025年 商标类型: R标 纳税类型:一般纳税人 所属省市:福建省厦门市 所在地区:华东地区
一级类目:
一般违规:0分严重违规0分售假违规0分

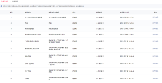
店铺截图

卖家描述

卖家描述
华东地区服饰天猫旗舰店出售/转让,该店铺主营类目为服饰,已开通服饰配件皮带帽子围巾,女士内衣男士内衣家居服,男装,25r,一般纳税人,本人出售,本人诚心出售,价格优惠
网店动态信息

宝贝与描述相符

卖家的服务态度

卖家的发货速度

交易流程

常见问题

- 同类型店铺推荐 -刷新换一批