复制成功!快去微信添加好友吧!
华东地区家装家饰天猫旗舰店出售/转让,住宅家具,家装主材
消保金 : 50000(不需要退还) 技术年费 : 0
6万市场估价 : 7.2万
店铺标签 : 无扣分
网店编号:S0F65D39DC3F
主营类目:家装家饰 商城类型:旗舰店
商标所有人:20 注册资金:0元
创店时间:2025年 商标类型: R标(第20类) 纳税类型:小规模纳税人 所属省市:山东省滨州市 所在地区:华东地区
一级类目:
一般违规:0分严重违规0分售假违规0分

店铺截图

卖家描述

卖家描述
华东地区家装家饰天猫旗舰店出售/转让,该店铺主营类目为家装家饰,已开通住宅家具,家装主材,20,小规模纳税人,无扣分,住宅家具,家装主材
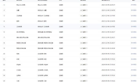
网店动态信息

宝贝与描述相符

卖家的服务态度

卖家的发货速度

交易流程

常见问题

- 同类型店铺推荐 -刷新换一批