复制成功!快去微信添加好友吧!
华东地区服务大类天猫旗舰店出售/转让,教育旗舰店出售
消保金 : 10000(需要退还) 技术年费 : 0
2万市场估价 : 2.4万
店铺标签 : 无扣分收藏高
网店编号:S0F4232E30FB
主营类目:服务大类 商城类型:旗舰店
商标所有人:公司 注册资金:100万元
创店时间:2025年 商标类型: R标(第41类) 纳税类型:一般纳税人 所属省市:安徽省合肥市 所在地区:华东地区
一级类目:
一般违规:0分严重违规0分售假违规0分

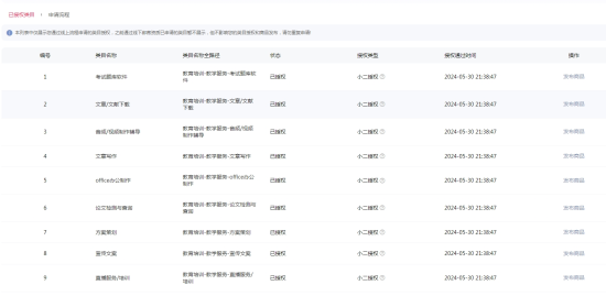
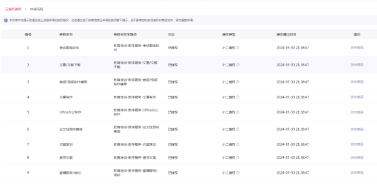
店铺截图

卖家描述

卖家描述
华东地区服务大类天猫旗舰店出售/转让,该店铺主营类目为服务大类,已开通教育培训,41,一般纳税人,无扣分,收藏高,教育旗舰店出售
网店动态信息

宝贝与描述相符

卖家的服务态度

卖家的发货速度

交易流程

常见问题

- 同类型店铺推荐 -刷新换一批