复制成功!快去微信添加好友吧!
华东地区服务大类天猫专营店出售/转让,本人诚心出售,价格优惠
消保金 : 100000(需要退还) 技术年费 : 0
16万市场估价 : 19.2万
店铺标签 : 盈利店铺优质店铺本人出售
网店编号:S0EE58D799B1
主营类目:服务大类 商城类型:专营店
商标所有人:公司 注册资金:20000万元
创店时间:2025年 商标类型: R标(第41类) 纳税类型:小规模纳税人 所属省市:福建省宁德市 所在地区:华东地区
一级类目:
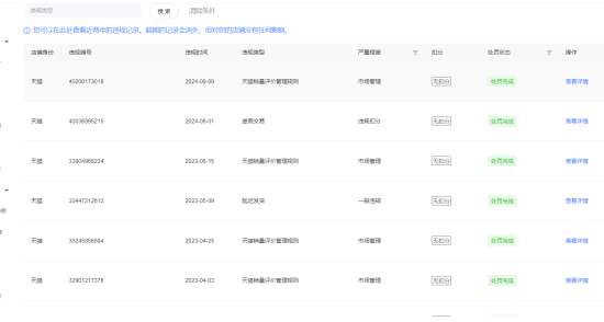
一般违规:0分严重违规0分售假违规0分

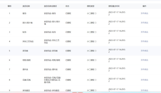
店铺截图

卖家描述

卖家描述
华东地区服务大类天猫专营店出售/转让,该店铺主营类目为服务大类,已开通本地化生活服务,41,小规模纳税人,盈利店铺,优质店铺,本人出售,本人诚心出售,价格优惠
网店动态信息

宝贝与描述相符

卖家的服务态度

卖家的发货速度

交易流程

常见问题

- 同类型店铺推荐 -刷新换一批