复制成功!快去微信添加好友吧!
华东地区3C数码天猫旗舰店出售/转让,文具电教旗舰店
消保金 : 50000(需要退还) 技术年费 : 0
10万市场估价 : 12万
店铺标签 : 无扣分本人出售
网店编号:S0EDEE7E0959
主营类目:3C数码 商城类型:旗舰店
商标所有人:公司 注册资金:0元
创店时间:2025年 商标类型: R标(第16类) 纳税类型:小规模纳税人 所属省市:安徽省宣城市 所在地区:华东地区
一级类目:
一般违规:0分严重违规0分售假违规0分

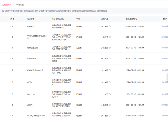
店铺截图

卖家描述

卖家描述
华东地区3C数码天猫旗舰店出售/转让,该店铺主营类目为3C数码,已开通文具电教文化用品商务用品,16,小规模纳税人,无扣分,本人出售,文具电教旗舰店
网店动态信息

宝贝与描述相符

卖家的服务态度

卖家的发货速度

交易流程

常见问题

- 同类型店铺推荐 -刷新换一批